Home
About Us
Company Profile
Qualification
Products
Continuous Flow Synthesis Plan
Pressure vessel
Non-Pressure Vessel
Engineering
cases
News
CompanyNews
Industry News
Cantact
Service
Cantactus
Message
18986552662
CN
News
NEWS
Home
>>
News
>>
CompanyNews
Industry News
CompanyNews
CompanyNews
CompanyNews
2025-11-27
Qianjiang Yong'an Pharmaceutical Co., Ltd.'s requirements have been successfully
TheEnglishtranslationfortheservicesprovidedbyQianjiangYong'anPharmaceuticalCo.,Ltd.isasfollows:...
2025-11-27
Warm congratulations on the official launch of the website of Hubei Yongbang Eng
HubeiYongbangEngineeringTechnologyCo.,Ltd.wasestablishedinApril2019.ItspredecessorwasHuanggangYong&#...
2025-11-24
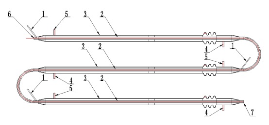
Hubei Yongbang Engineering Technology Co., Ltd. Invention Patent
EnglishTranslation:BriefDescriptionofMicrochannelDosingTubularReactorPatentNo.202510271532.7Th...
2025-11-10
Hubei Yongbang Engineering Technology Co., Ltd. was established in April 2019.
HubeiYongbangEngineeringTechnologyCo.,Ltd.wasestablishedinApril2019.ItspredecessorwasHuanggang...
Service Hotline
18986552662
WeCom